6000/MCP ręczny ostrzegacz pożarowy
- Charakterystyka
- Dane techniczne
- Do pobrania
Charakterystyka

- Do stosowania wewnątrz
- Dostępny w wersjach natynkowej i podtynkowej
- Zgodny z normą EN 54-11
- Łatwa instalacja
- Plastikowa szybka w standardzie
- Łatwe resetowanie po fałszywym alarmie
Dane techniczne
|
Napięcie wejściowe |
16 ... 30 V DC |
|
Prąd w alarmie |
3,5 mA |
| Prąd w dozorze | 0,45 mA |
| Wilgotność (bez kondensacji) | 0% ... 95% |
| Zakres temperatur | -10 °C ... +55 °C |
|
Stopień ochrony |
IP 24 |
|
Rodzaj |
Adresowalny, wewnętrzny |
|
Montaż |
Natynkowy lub podtynkowy |
|
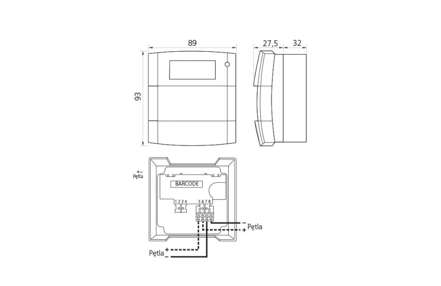
S x W x G |
89 x 93 x 27,5 mm |
| Waga | 0,14 kg |
Opcje adresowalnego ostrzegacza pożarowego ROP 6000/MCP
| Typ | Nr art. | Uwagi |
| 6000/MCP | 73.PR0.01 | Adresowalny wewnętrzny ręczny ostrzegacz pożarowy z izolatorem zwarć |
| MCP BOX | 73.PR0.02 | Puszka ROP do montażu natynkowego |
| 6000/MCP/WP | 73.PR0.03 | Adresowalny zewnętrzny ręczny ostrzegacz pożarowy z izolatorem zwarć |
|
6000/MCP COVER |
73.PR0.04 | Mocowana na zawiasach przezroczysta osłona do MCP |
| 6000/ELEMENT | 73.PR0.05 | Plastikowy element wymienny (szybka) do ręcznego ostrzegacza pożarowego MCP |
Do pobrania
Certyfikaty
| 6000/MCP ręczny ostrzegacz pożarowy - świadectwo dopuszczenia.pdf | Zobacz | Pobierz |
| 6000/MCP ręczny ostrzegacz pożarowy - atest PZH.pdf | Zobacz | Pobierz |
| 6000/MCP ręczny ostrzegacz pożarowy - certyfikat właściwości użytkowych PL.pdf | Zobacz | Pobierz |
| 6000/MCP ręczny ostrzegacz pożarowy - certyfikat właściwości użytkowych EN.pdf | Zobacz | Pobierz |
| 6000/MCP ręczny ostrzegacz pożarowy - deklaracja właściwości użytkowych PL.pdf | Zobacz | Pobierz |
| 6000/MCP ręczny ostrzegacz pożarowy - deklaracja właściwości użytkowych EN.pdf | Zobacz | Pobierz |





